Articles
Cliquez sur l’icône avec les 3 points afin d’obtenir plus dʼoptions pour chaque article.

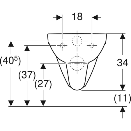
| N° de réf. | 501.044.00.3 Nouveau |
| Couleur / surface | blanc |
| B | 35.5 cm |
Informations complémentaires
- Conforme au décret sur l'accessibilité du 20 avril 2017
- Prévoir une rallonge de coude de chasse avec manchette n° d'article 152.436.16.1
















